BILOCALE IN OTTIME CONDIZIONI

Bastiglia (Modena)

Rif: AM 1038
Condividi Linkedin Whatsapp Stampa
€ 98.000
Appartamento
77 Mq
2 Vani
Classe energetica F
1 camera
1 bagno
Ascensore
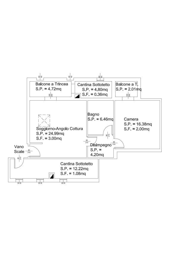
L'Immobiliare Global propone la vendita di un appartamento in centro al paese di Bastiglia, contesto residenziale metà anni 90, appartamento sito al 3 piano (l'ascensore arriva fino al 2 piano e poi c'è da fare un piano a piedi). Immobile cosi composto : Ingresso in ampia zona pranzo soggiorno angolo cottura, balcone con ambiente ripostiglio, disimpegno notte, bagno recentemente ristrutturato, camera da letto matrimoniale con secondo balcone. Annessa all'immobile troviamo una soffitta sempre situata al terzo piano, da 15 mq.
Riscaldamento autonomo e basse spese condominiali. Libero subito.

Dettaglio immobile

Contratto Vendita
Rif AM 1038
Prezzo € 98.000
Provincia Modena
Comune Bastiglia
Indirizzo Piazza Repubblica
Superficie 77 mq
Vani 2
Camere 1
Bagni 1
Classe energetica F (DL 192/2005)
EPI 175 kwh/m2 anno
Piano 3 / 3
Riscaldamento autonomo
Condizioni ottime condizioni
Spese condominiali € 85
Anno di costruzione 1990
Ascensore si
Cantina 15 mq
Cucina angolo cottura
Balcone si

Consistenze

Descrizione Superficie Sup. comm.
Principali
Immobile - 3° piano 73 Mq 73 Mqc
Cantina - 3° piano 15 Mq 4 Mqc
Totale 77 Mqc

Planimetrie

Richiedi maggiori informazioni

Autorizzazione al trattamento dei dati personali+
Dichiaro di aver letto l'informativa sulla privacy ed accetto le condizioni d'utilizzo del servizio.
Riempi il campo con il codice riportato nell'immagine*
Codice Captcha
Chiamaci Contattaci